当前位置: 首页 > 产品大全 > 常州一钻精密模具 专注马达铁芯自动叠铆高速冲模具的卓越制造

常州一钻精密模具 专注马达铁芯自动叠铆高速冲模具的卓越制造

常州一钻精密模具 专注马达铁芯自动叠铆高速冲模具的卓越制造

在精密冲压模具领域,马达铁芯自动叠铆高速冲模具代表着技术复杂性与高精度的巅峰。这类模具专为高效、高精度地生产电机核心部件——铁芯而设计,是实现电机自动化、规模化生产的关键装备。常州一钻精密模具有限公司,作为国内知名的专业模具制造商,在此细分领域深耕多年,以其卓越的技术实力和可靠的产品品质,赢得了市场的广泛认可。

核心优势与产品特点

常州一钻精密模具提供的马达铁芯自动叠铆高速冲模具,集成了多项核心技术与工艺:

  1. 高速高精冲压:模具设计充分考虑高速冲床的工况,采用高强度、高耐磨的优质材料(如进口粉末高速钢),确保在每分钟数百次甚至上千次的冲压频率下,长期保持极高的尺寸稳定性和刃口锋利度,满足铁芯片的精密叠铆要求。
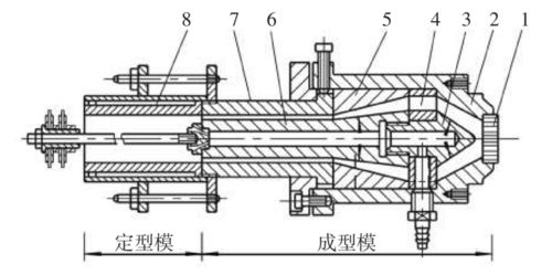
  2. 自动叠铆与计数:模具内置精密的自动叠铆机构,能在冲压过程中自动完成硅钢片的扣合、叠装,形成牢固的铁芯组。同时配备可靠的计数与分离装置,确保每组铁芯片数准确无误,极大提升了生产自动化程度与产品一致性。
  3. 长寿命与低维护:通过优化的热处理工艺、精密的导向系统以及科学的间隙设计,模具的使用寿命显著延长,有效降低了客户的单件生产成本和维护停机时间。
  4. 定制化开发能力:针对不同型号、规格的马达铁芯(如家电电机、汽车微电机、工业电机等),常州一钻具备强大的非标定制能力,从产品工艺分析、模具设计到制造、调试,提供一站式解决方案,确保模具与客户生产线完美匹配。

价格与价值考量

关于价格,马达铁芯自动叠铆高速冲模具属于技术密集型产品,其价格构成复杂,主要取决于铁芯产品的尺寸精度、叠铆复杂度、材料等级、模具寿命要求以及订单数量等因素。常州一钻精密模具始终坚持性价比最优的原则,并非单纯追求低价。他们通过科学的设计、成熟的工艺管理和规模化采购来控制成本,为客户提供的是涵盖整个模具生命周期(包括稳定性、效率、维护成本)的综合价值。对于具体报价,通常需要客户提供详细的产品图纸和技术要求后进行核算。

厂家实力与图片展示

作为专业厂家,常州一钻精密模具拥有现代化的加工车间,配备了慢走丝线切割、精密磨床、高速加工中心、坐标磨等高端数控设备,以及三坐标测量仪、投影仪等精密检测仪器,保障了模具的加工精度。公司技术团队经验丰富,对电机铁芯的冲压工艺有深刻理解。

至于产品图片,在其官方网站或通过业务沟通,客户可以查看到清晰的模具实物照片、结构示意图以及最终冲压成型的铁芯样品图片。这些图片直观展示了模具的精良做工、紧凑结构和自动化叠铆的成效,是其实力的有力证明。

###

选择马达铁芯自动叠铆高速冲模具,实质上是选择一位长期、可靠的生产伙伴。常州一钻精密模具凭借其在该领域的专注与积累,能够为客户提供稳定、高效、耐用的模具产品与专业的技术支持,帮助客户在激烈的市场竞争中提升核心制造能力,实现降本增效。对于有需求的客户,直接与厂家进行深入的技术与商务沟通,是获取最适合解决方案的最佳途径。

如若转载,请注明出处:http://www.k36979.com/product/66.html

更新时间:2026-05-29 21:10:21

产品列表

PRODUCT